曾经,日方发现二维码支付在中国火起来了以后,便想重新申请二维码的专利收益权,并打算向中国人每人收取1分钱。
谁让这个二维码是腾弘原带领他的团队历时两年时间最先发明出来的呢,人家甚至还为此申请了专利。
不过由于申请人主动放弃了使用权,而中国这边也有不少关于二维码技术的专利申请,因此在商品二维码业务上不存在任何侵权行为,自然无需向日本交什么专利费。
于是乎,关于日方欲起诉中方二维码侵权一事似乎就这样不了了之。
然而拥有二维码支付相关专利的中国企业,却并没有就此松口气,因为国内还有其他同行正虎视眈眈。
二维码侵权纠纷案
01
案件缘由
2012年11月,北京微卡时代信息技术有限公司(下称微卡时代公司)从银河联动信息技术(北京)有限公司(下称银河联动公司)处获得了名为“采集和分析多字段二维码的系统和方法”的发明专利,与卓望信息技术(北京)有限公司(下称卓望公司)共享专利权。
涉案专利包括了移动支付中的“扫一扫”二维码采集、后台解码、辨识字段、信息匹配、最终识别等全过程。
后来在2019年10月11日,微卡时代公司、卓望公司将财付通支付科技有限公司(下称财付通)、腾讯科技(深圳)有限公司(下称腾讯)、凡客诚品(北京)科技有限公司(下称凡客诚品)起诉至北京知识产权法院,认为微信支付侵犯了其所属专利权,故要求三被告赔偿经济损失89万元及合理损失11万元。
直到12月31日,北京知识产权法院才公开宣判了这一侵权纠纷案。
02
被告公司主张
腾讯方面主张不侵权抗辩,认为微信支付作为支付渠道,其二维码为单字段,而原告专利为“多字段二维码”,其二维码会包含有特定商户信息,与微信支付的运营模式并不相同。微信扫码支付采取了完全不同的技术手段,实现完全不同的功能和效果,不构成等同侵权。
腾讯还主张,二维码的采集、解码、辨识都是现有技术,不能说在专利中对字段进行人为割裂,就成了对方的独有保护范围。涉案微信扫码副服务没有使用涉案专利的技术方案,没有落入其保护范围。
凡客公司主张,其与财付通公司签订了支付协议,只是购买使用了微信扫码支付服务,属于善意使用者。
03
判决结果
经审理,北京知识产权法院认为,虽然微信扫码支付在采集、辨识等步骤上与涉案专利部分相同,但在分析、解码阶段的技术与涉案专利并不相同。根据相关法律法规,专利权人不能在技术特征不同的情况下,将不属于保护范围的技术利用等同原则重新纳入专利权保护范围,以“两头得利”。
最终,法院认为微信支付服务并不落入涉案专利保护范围,判定微卡公司、卓望公司主张微信扫码支付侵犯涉案专利的主张不成立,驳回两原告的诉讼请求。
看到这样的判决,小编不禁想起2017年,微卡时代公司指控支付宝侵害微卡时代专利权的案例。
虽然支付宝当时以构成商业诋毁为由向上海知识产权法院提起诉讼,但微卡时代公司很快进行了反击,把支付宝和凡客诚品全给告了,也是索赔100万元。不过此案最终以双方达成和解协议告终,而微卡时代公司于2018年10月撤诉。
微卡时代公司维权得那么认真,主要是因为二维码支付太火了,作为拥有二维码技术专利的所有者,在这个移动支付时代想分一杯羹也挺正常的。
如今二维码的应用范围非常广泛,不仅是在电子商务上,连储存运输业、云计算等领域都非常有前景。所以往后只会有越来越多的公司申请二维码专利,而与之相关的技术专利纠纷案也会更多。
不过有的人说了,二维码迟早会被新的支付方式取代。
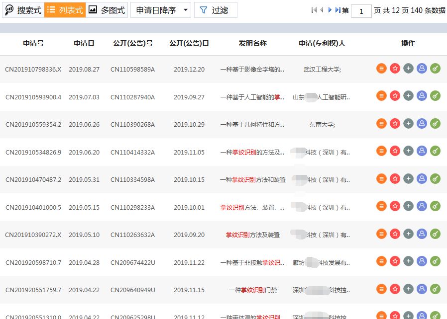
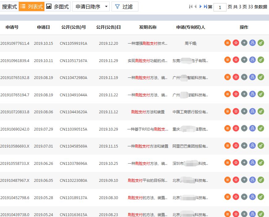
比如刷脸支付,特别方便那些忘带手机的人,他们只需要把自己的脸对着镜头刷一下就完成了交易。
关于刷脸支付的技术自然也被申请了专利,截至目前,小编在专利局上检索到33条与刷脸支付技术相关的专利申请信息。
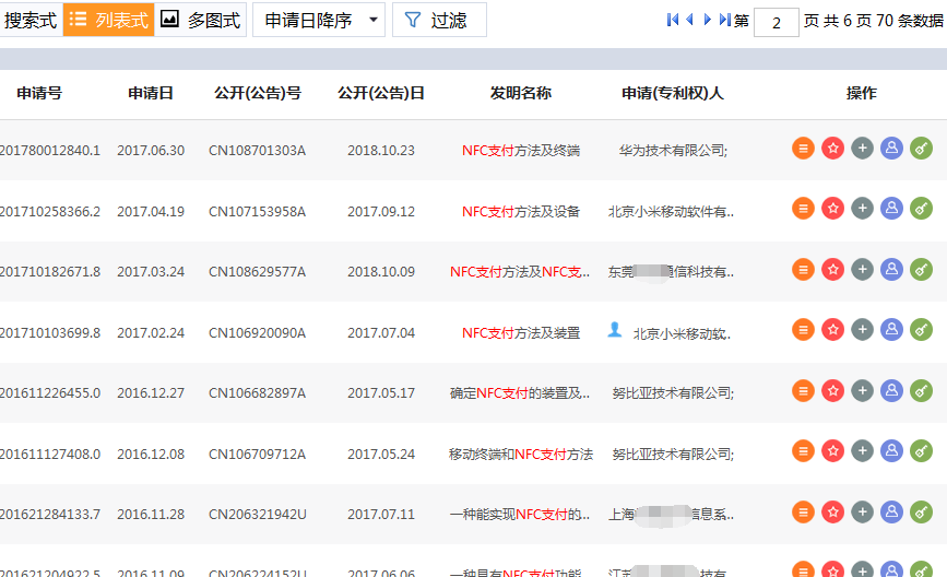
还有NFC支付,对于更依赖手机、手环等产品的用户来说,使用NFC支付比二维码更方便。
同样的,该技术也有专利。在专利局上简单的检索一下,能看到部分与NFC支付相关的专利申请信息。
从刷二维码到刷脸,如今国内的移动支付技术是越来越厉害了。
但是,更厉害的黑科技要来了!
以后我们可能真的是要准备剁手了!
刷手支付专利曝光
2019年12月26日,美国专利与商标局公布了亚马逊最新专利申请:一种非接触式扫描系统,可通过扫描手掌特征(包括掌纹和静脉)来识用户身份。
也就是说,将扫描仪放置在给定位置的入或出口处,顾客只需扫描手掌就可链接至自己的信用卡或借记卡,仅在0.3秒内即可完成所有交易,不需要刷脸。
在专利文件中,亚马逊这样描述该技术:这项技术可以实现精确且快速的用户认证,并使用在多个场景之中。例如,进入一些场所、办公室、交通设施及其他需要基于用户身份进行控制的地点。
而专利资料显示,该应用程序的许多发明人都是属于Amazon Go事业组的,包括公司的负责人Dilip Kumar,他是Amazon Go的技术负责人,也是亚马逊实体零售计划的副总裁。
其实早在9月《纽约邮报》就有过相关报道,称亚马逊正在测试一项新技术,允许全食超市(Whole Foods)的顾客在结账时,通过扫描手部进行支付,而不需要刷卡。如果这项技术能够实现,那么亚马逊很大概率会在Amazon Go无人零售商店中使用它。
据悉,该系统的识别错误率在百万分之一以内,而亚马逊的工程师正努力将其提高到一亿分之一以内。同时,该技术的响应速度还非常快,普通的银行卡交易需要3到4秒,但亚马逊的这一系统只需要0.3秒,大大加快了结账速度。
掌纹识别技术
亚马孙的这项技术相当厉害,不过咱国内企业也不差。
2014年曾有新闻报道,在支付宝展示未来的支付安全技术中:有一种用生物识别杀死数字密码的技术,这里的生物识别不仅仅局限于指纹,它包括了人脸、声纹、指纹、掌纹、笔迹和键盘敲击。
其中尤为引人注目的是掌纹识别技术,不仅可以比对掌纹主线和褶皱的方向和位置信息,还可以计量掌纹图像的重心、均值、方差等,得到一个特征字典。依靠特定设备采集掌纹,转换成数字信号,瞬间产生庞大数据,可成为辨识依据。
从早期业内人士@孙昌旭 提供的现场图片来看,用户只要将掌纹掌纹录入手机,捆绑支付宝账号,将来到超市,对着镜头读取掌纹就可以支付了。
这种掌纹识别技术的发展,可以与现有的数字密码形成有效补充,甚至在部分场景和环节,其安全性远超数字密码。
当然,除了支付宝,国内有不少企业、高校也在研发相关技术,并为之申请专利。
这确实比刷脸支付要安全的多了,想想当初浙江嘉兴那位小学生用照片骗过丰巢快递柜人脸识别系统的新闻,就知道刷脸是个不太靠谱的支付方式。
那么亚马逊、支付宝等公司研发的刷手支付,其系统需要使用手掌表面+内部血管、骨骼等更复杂的结构信息,这无疑增加了伪造者的成本。
不过要小编来说,目前不管是刷手支付还是扫脸支付,都没有被广泛地运用于日常生活中。毕竟技术还不太行,况且消费者对于其安全性也抱有质疑,不敢轻易尝试。
虽然目前上述的新支付方式仍有不少问题待解决,但小编相信随着相关技术的不断成熟以及相关政策法律的不断完善,势必会有很多人放心使用这些更加安全便捷的支付方式。
至于将来会不会因为刷手刷得太方便导致卡被刷到爆,这就得看消费者自己的意志力了。
不说了,小编要赶紧去买些东西保养一下手,以后要是一个不小心买了很多东西,就看在手特别好看的份儿上原谅它经常“喜刷刷”的行为。

