你和你的家人有没有过手被戒指或手镯卡住的时候?
没有的话,应该看到过相关的报道吧,比如:


手指被戒指卡住的话,会出现缺血状态,如果不及时解决,被卡住的手指便会因缺血而坏死。
往常救援人员会使用尖嘴钳、锉刀、指甲刀等工具来一点点对戒指进行剪切。但由于圆环比较薄,现有的装备无法有效割断圆环,且用时也比较长。
近日,在天津市的消防员潘子雄针对这个问题发明了一个“除戒神器”。
据悉,潘子雄是在2018年初就开始着手设计这台切割机了,主要用来应对日常救援中戒指或手镯卡手等情况,大大提高了处置效率。
此外,他设计的切割机还在2018年12月获得了两项国家专利证书。
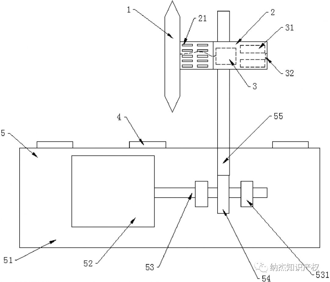
1便携式速切割装置
该实用新型专利属于切割设备领域,包括固定板、微型电动切割刀和驱动组件,所述微型电动切割刀固设在所述驱动组件的上端面,所述固定板固设在所述驱动组件的中部,所述微型电动切割刀与所述固定板上下对应设置,所述固定板与所述微型电动切割刀对应的位置设有定位架,所述定位架上设有开口向上的U形槽。
此切割装置操作简单,微型电动切割刀电池供电,使用环境不受限制,而且切割盘在进行切割的同时可实现自动升降或手动升降,自动升降的情况下操作人员只要固定即可,不需施力升降,节省人力,降低劳动强度,切割效果好,而且定位精准,手动升降可不连接电源,安全性更高。
2便携式彩钢板破拆工具
该实用新型专利属于消防辅助设备领域,包括切割盘和驱动组件,所述切割盘设在所述保护壳的一端且二者转动连接,所述保护壳的轴线垂直于所述切割盘设置,所述切割盘的内部设有旋转电机,所述旋转电机驱动所述切割盘旋转,所述旋转电机由电池供电,所述保护壳靠远离所述切割盘的一端固定在所述驱动组件上。
此破拆工具在切割的同时可实现锯盘的自动前进,省力,切割速度快。
对此,不少网友认为这位消防员小哥哥很有责任心,为了能更快解决手指被卡住的问题,便制作出更有效果也更安全的切割工具。
要不咋说发明创造的灵感来源于生活呢?
这是肯定是因为戒指卡手的人太多了,才把人消防员给逼成了发明家吧。
当然,这样“除戒神器”在目前可能不会推广至全国。假如自己或身边的人遇到戒指卡住手指的情况,正好救援人员受伤没有“除戒神器”,也别自个儿凭蛮力强拽或借助外力强取,以免对手指造成伤害使其更加肿胀。
可以把手放在冷水中浸泡,或者用冰块摩擦被卡的手指,用润滑油、肥皂水涂满手指,再轻轻转动。如仍无法取下且手指出现红肿情况,要及时向消防部门或者医院求助。
只是,对于潘子雄制作的切割装置,在评论中有不少喝彩声,也有质疑声。其中一个网友认为:实用新型专利含金量很低。
确实,有不少人都认为实用新型专利质量不高,稳定性也差,其维权程序又比较繁琐,而且还难以保护专利权人的利益,由此得出个实用新型专利含金量很低的结论。
所以说潘子雄应该申请发明专利,而非实用新型?
不能这样认为,毕竟这两者是有区别的。
在我国专利法中,对发明专利的创造性和技术水平要求很高,对实用新型的要求则比较低。
发明:是指对产品、方法或者其改进所提出的新的技术方案。
实用新型:是指对产品的形状、构造或者其结合所提出的适于实用的新的技术方案。
虽然实用新型的产品结构略简单,改进也小,但实用价值却很大。所以有时候实用新型会被称为“小发明”或“小专利”。
那么这种“小专利”的价值究竟有多大呢?
实用新型专利价值
一、激励个人、企业的研究、发明、创造,通过授予专利权,确保发明人创新的热情;
二、不断改进产品与技术,良性提高企业市场竞争力;
三、申请人有效维权的证据,可维护申请人的合法权益不受侵害;
四、促进科技市场的发展,小发明、小专利在各种产品中仍有不可小觑的人群及市场。
据数据统计,在我国实用新型的专利许可占据54.9%的整体市场,而专利质押也高达54.7%。
有人说,发明专利比实用新型专利更有用,可实际上实用新型在保护创新产品方面上,其重要性完全不比发明专利的低,因为:
1、实用新型专利可以从更多的角度保护重要专利技术,补充保护核心技术。
2、实用新型专利审查时间短,获得授权的时间快,专利技术能够以更快的速度向公众公开并市场化。这对于生命周期短、市场更新快的技术有很重要的意义,对于企业来说,时间就意味着一切,只有抢得先机,才能在竞争中取得优势地位。
3、费用低廉。不仅仅是申请费用远小于发明专利,实用新型专利的维持费用也远低于发明专利。
此处或许可以参考下去年的一个关于实用新型专利纠纷案例:
2018年,广州知识产权法院曾公开宣判了格力电器诉奥克斯三件专利侵权纠纷。广州知识产权法院经过严格审理,查明事实,充分听取双方当事人陈述后,认定奥克斯黄金侠、极速侠、极客等10余款空调产品,侵犯了格力电器接水盘一体化、双风道空调器、空调室内机等三件专利权,判决奥克斯赔偿格力电器4600万经济损失,刷新了家电行业专利侵权赔偿额的新记录。
案件中涉及的专利类型均为实用新型专利,你说如果实用新型专利价值真的有这样低,还会动不动赔偿额就上千万吗?
至于实用新型专利的含金量,它是要根据市场效益、创新技术、利用效率等方面来判定的。
简而言之,只要实用新型专利有成果转换,那么它就是值钱的。
况且,随着我国近年来对微创新的重视程度越来越高,对实用新型审核也变得更加严格了起来,从增加的审核力度来看,实用新型专利的含金量显然正处于不断提高的状态中。
所以,别再“鄙视”消防员潘子雄申请的实用新型了,人家的专利含金量真的一点也不低,况且申请专利还有补贴可领取呢!

